Home
Assignments
About me
Final project
WEEK 8 - EMBEDDED PROGRAMMING

For this week, the Attiny 44 is programmed to do something, so we have to read the datasheet for the device.

Programming is performed later in the arduino scheduled to record in the Attiny 44.

For the programming had to take into account the pins indicated in the data, for it was verified that the pin 8 (port No. 5 ) of Attiny output was led.

In the case of the push, it was taken as input pin 7 (port No. 6) of Attiny . I was taken into account because if it utlizamos other programming pin will not work.

Then he had to make a few small changes before saving programming.

First they had to set the burn card that is the Attiny 44 with a 20MHz oscillator.

Second, I had to set the schedule, that was the mode used for recording , however, there were drivers who did not need that way and stored or recorded programming.

Third, I had to verify that the USB port that was connected to the Arduino out which were marked in the program.

After all steps to record programming the connection was made and the program was loaded.

Then the Led lit and when the switch is flipped the LED is turned off.

I did something similar with the FabISP

Datasheet:

THE MICROCONTROLLER:

Route the track by hand

Pin Configurations:

Pin Descriptions

1.1.1 VCC

Supply voltage.

1.1.2 GND

Ground.

1.1.3 Port B (PB5:PB0)

Port B is a 6-bit bi-directional I/O port with internal pull-up resistors (selected for each bit). The Port B output buffers have symmetrical drive characteristics with both high sink and source capability. As inputs, Port B pins that are externally pulled low will source current if the pull-up resistors are activated. The Port B pins are tri-stated when a reset condition becomes active, even if the clock is not running. Port B also serves the functions of various special features of the ATtiny45

1.1.4 RESET

Reset input. A low level on this pin for longer than the minimum pulse length will generate a reset, even if the clock is not running and provided the reset pin has not been disabled The reset pin can also be used as a (weak) I/O pin.

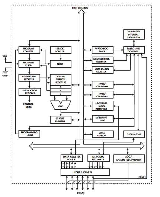
Block Diagram: